Hộp số sàn dành cho xe điện đang được Toyota phát triển nhiều khả năng sẽ phá vỡ những quy chuẩn từng được biết đến trước đây.
Theo trang Motor1, Toyota đang tích cực nghiên cứu để đưa hộp số sàn giả lập vào những mẫu xe điện của mình. Đây rõ ràng là một điều khá thú vị và cách của nhà sản xuất ô tô Nhật Bản để tăng thêm sự tương tác với xe điện của mình có thể sẽ không bị giới hạn ở chỉ sáu hoặc bảy cấp, giống như hầu hết các mẫu xe ngày nay.
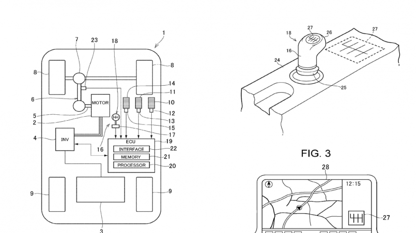
Một đơn xin cấp bằng sáng chế gần đây của nhà sản xuất ô tô đã được công bố. Hình ảnh cùng với tài liệu kỹ thuật cho thấy một thiết kế hộp số có tới 14 cấp.
Bằng sáng chế đi sâu vào rất nhiều chi tiết liên quan đến các bộ phận bên trong của một hệ thống truyền động đặc biệt như vậy. Tóm lại, người lái xe sẽ có thể chọn chính xác tỷ lệ mà họ muốn.
“Số lượng giai đoạn của hộp số ảo có thể là sáu giai đoạn trở lên hoặc ít hơn sáu giai đoạn”, tài liệu lưu ý. "Người lái xe được phép chọn cấp mong muốn phù hợp với sở thích của mình."
Tuy nhiên, thực tế, nhà sản xuất ô tô không thiết kế một loại hệ thống cơ điện nào đó để tạo ra nhiều cấp chuyển số vật lý một cách hiệu quả như người dùng mong muốn.
Thay vào đó, sẽ có một số lượng cấp thực tế cố định; có thể là sáu nhưng Toyota sử dụng bốn làm ví dụ. Cần số sẽ được sử dụng để chọn giống như số sàn thông thường, tuy nhiên bộ phận này có thể trở về vị trí trung lập sau khi sử dụng. Sau đó, khi người lái xe chuyển số, máy tính sẽ chuyển sang nhóm "tỷ lệ" tiếp theo.
Vì vậy, có thể nói đây chỉ là một dạng giả lập của xe được thực hiện bằng các thuật toán và công thức.
Theo Toyota, hộp số sàn trên xe điện của hãng sẽ mô phỏng toàn bộ thao tác sử dụng loại hộp số này trên xe máy xăng/dầu thông thường. Nghĩa là người dùng vẫn sẽ phải đạp côn vào số/trả số và xe sẽ tắt máy nếu thao tác không phù hợp với tốc độ.
Ưu điểm vượt trội của công nghệ này là khả năng "lập trình" hộp số sàn cho chiếc xe điện có thể mô phỏng cảm giác lái của bất kỳ một dòng xe xăng nào khác trên thị trường. Như vậy, lúc này chiếc xe điện không khác gì một cỗ máy tính có thể chơi game lái xe, cho phép người dùng thoải mái lựa chọn dòng xe muốn trải nghiệm, nhờ tận dụng sức mạnh “khủng” từ động cơ điện.
Quốc Bình





















